BMW si nechala patentovať netradičné riešenie spojovacieho prvku, ktoré pravdepodobne vyvolá viac emócií než nadšenia. Ide o skrutku so špeciálnym vnútorným profilom, ktorého tvar vychádza z loga automobilky. Bežné náradie – krížový skrutkovač, Torx či imbus – tu nepomôže. Na manipuláciu je potrebný špecifický nástroj.
Oficiálne ide o zvýšenie bezpečnosti a obmedzenie zásahov „neoprávnených osôb“. Menej oficiálne to však pôsobí ako ďalší krok smerom k presmerovaniu aj jednoduchších servisných úkonov výhradne do autorizovaných dielní.
Ako vyzerá patentovaná „logo-skrutka“

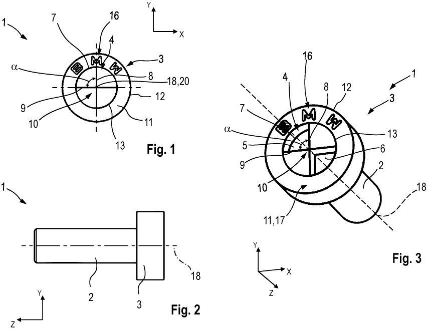
Výkresová dokumentácia patentu skrutky BMW s vnútorným profilom v tvare loga, znázorňujúca horný pohľad a bočný rez.
Patentová dokumentácia opisuje viacero variantov skrutky – od klasickej valcovej hlavy, cez zápustné vyhotovenie až po polguľatý tvar. Spoločným znakom je vnútorný profil rozdelený na štyri sektory pomocou deliacej steny, ktorého geometria zodpovedá kruhovému logu BMW.
V niektorých vyhotoveniach je logo zároveň viditeľne vyrazené na obvode hlavy skrutky, čím sa z technického prvku stáva aj jednoznačný identifikačný znak výrobcu.
Bezpečnosť ako hlavný argument

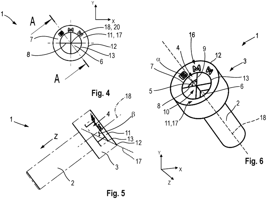
Výkresová dokumentácia patentu znázorňuje geometriu hlavy skrutky, vnútorný profil rozdelený na štyri funkčné sektory a základné rozmery závitovej časti v rôznych projekciách.
Podľa textu patentu sú tieto skrutky určené pre konštrukčné a polokonštrukčné oblasti vozidla. Konkrétne sa spomínajú napríklad upevnenia sedadiel alebo spoje medzi interiérom a karosériou.
Z formulácií v dokumente vyplýva, že cieľom riešenia je:
- zabrániť manipulácii bežným náradím,
- obmedziť neodborné zásahy,
- znížiť zodpovednostné riziká výrobcu.
V praxi to znamená, že aj relatívne jednoduchý servisný úkon môže byť podmienený špeciálnym náradím alebo autorizovaným postupom.
Kde sa láme dôvera používateľov

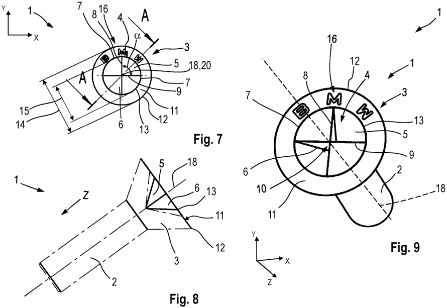
Patentové výkresy skrutky s vnútorným profilom v tvare loga BMW, zobrazujúce horný pohľad na hlavu skrutky a bočný rez konštrukciou.
Mnohí v tomto riešení vidia ďalší tlak na obmedzenie nezávislých opráv a oslabenie princípov „Right to Repair“. Najmä v kontexte posledných rokov, keď časť výrobcov deklaruje snahu zlepšiť opraviteľnosť vozidiel, pôsobí takýto patent ako krok opačným smerom.
Kontrast je o to výraznejší, že iné automobilky v rovnakom období prehodnocujú používanie lepidiel, zalievaných modulov či nerozoberateľných celkov práve kvôli servisnej dostupnosti.
Zatiaľ len papier, nie realita

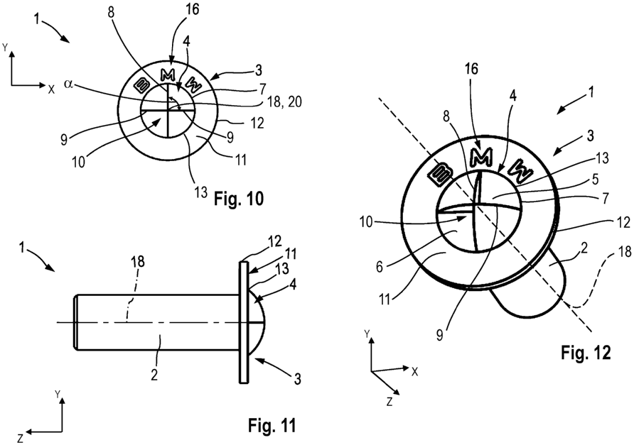
Patentové nákresy zobrazujú konštrukciu skrutky s vnútorným profilom odvodeným z loga BMW, vrátane pohľadu na hlavu skrutky zhora a bočného rezu konštrukciou.
Na záver je dôležité zdôrazniť, že ide o patentovú prihlášku, nie o potvrdené sériové riešenie. Mnohé patenty sa nikdy nedostanú do reálnej výroby alebo sa objavia len v obmedzenom rozsahu.
Ak by sa však podobné „logo-skrutky“ predsa len objavili v sériových vozidlách, je veľmi pravdepodobné, že trh s náradím na to zareaguje rýchlejšie než prvý majiteľ stihne objednať termín v autorizovanom servise.
V prípade, že si všimnete nepresnosť, neaktuálnu informáciu alebo terminologický rozpor, budeme radi za upozornenie na e-mail redakcia@autocurrent.sk.
zdroj:
CarBuzz
Patentscope